一、概述
ENR-KZX系列开关状态智能操控装置是我公司根据目前中高压开关柜技术发展而开发设计的一种新型多功能、高集成度、智能化动态模拟显示及操控装置,适用于3-40KV中置柜、手车柜、固定柜、环网柜等多种成套装置上。它集开关柜一次回路模拟图、手车(隔离刀)位置、断路器位置(分、合闸状态、弹簧储能状态)、接地闸刀位置等,高压带电显示(带自检)、带电闭锁、缺相报警、开关柜内环境温湿度的检控及故障显示、分/合闸、远方/就地、手储/自储控制、柜内照明、RS485通讯等功能于一体。该装置不仅外型美观大方,且优化了开关柜的整体布局,是新一代开关柜内使用的理想更新换代产品。
二、主要技术特性
工作电压:AC/DC 80~270V
工作温度:-5℃~50℃
极限工作温度:-10℃~55℃
相对湿度:≤93%
最大功耗:≤15W
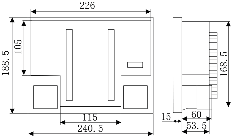
外形尺寸:241mm(长)*189mm(宽)*85mm(深);ENR-KZX2100型尺寸为139mm*200mm*32mm
净重:约1.5KG(含附件)
三、工作原理
1装置由模拟指示部分、高压带电指示部分、温湿度控制部分及通信部分组成。
2.模拟指示电路的开关量输入信号取自开关柜中一次原件的辅助触点。经噪声吸收、光电隔离离电路,信号由CPU进行智能逻辑控制处理,驱动动态模拟数码管显示各开关量的分、合状态;
3.高压带电指示电路的输入信号取自与母线相连的高压带电传感器。经浪涌吸收、电流抑制、电磁隔离电路,由CPU对三相电压信号进行数字噪声滤波,相序识别、幅值计算后,输出高压带电闭锁信号,并以高亮度LED指示高压带电相及闭锁状态;
4.工作原理图如下:
四、产品型号及选型指南
|
型号 功能选择 |
ENR-KZX 2100 |
ENR-KZX 2110 |
ENR-KZX 2200 |
ENR-KZX 2300 |
ENR-KZX 2400 |
|
动态模拟图 |
有 |
有 |
有 |
有 |
有 |
|
语音防误提示 |
|
选配 |
选配 |
选配 |
选配 |
|
带电显示及闭锁 |
有 |
有 |
有 |
有 |
有 |
|
缺相报警 |
|
有 |
有 |
有 |
有 |
|
温湿度数码显示 |
|
|
有 |
|
|
|
温湿度液晶显示 |
|
|
|
有 |
有 |
|
加热、排风无源输出 |
有 |
有 |
有 |
有 |
有 |
|
传感器断线报警 |
|
有 |
有 |
有 |
有 |
|
负载断线报警 |
|
有 |
有 |
有 |
有 |
|
柜内照明 |
|
有 |
有 |
有 |
有 |
|
分合闸,远方/就地,储能开关 |
|
有 |
有 |
有 |
有 |
|
1路温湿度 |
有 |
选配 |
选配 |
选配 |
选配 |
|
2路温湿度 |
选配 |
有 |
有 |
有 |
有 |
|
无线测温功能 |
|
|
|
|
有 |
|
人体感应探头 |
|
|
|
|
有 |
|
通讯RS485 |
|
选配 |
选配 |
选配 |
选配 |
|
最大功耗 |
≦6W |
≦15W |
≦15W |
≦15W |
≦15W |
|
外形尺寸(宽*高*深) |
139*200*32 |
241*189*85 |
241*189*85 |
241*189*85 |
241*189*85 |
|
外壳材质 |
塑壳 |
塑壳 |
塑壳/金属壳 |
塑壳/金属壳 |
塑壳/金属壳 |
五、以ENR-KZX2110型开关柜智能控制装置为例的使用说明
5.1前面板示意图及说明

|
序号 |
描述 |
序号 |
描述 |
|
1A、4A |
手车工作位置指示 |
13 |
风扇2指示 |
|
1B、4B |
手车试验位置指示 |
14 |
传感器断线报警1指示 |
|
2A |
断路器合闸指示 |
15 |
传感器断线报警2指示 |
|
2B |
断路器分闸指示 |
16 |
照明指示 |
|
3A |
接地闸刀合指示 |
17 |
手动指示 |
|
3B |
接地闸刀分指示 |
18 |
负载断线报警提示 |
|
5 |
智能语音指示 |
19 |
运行指示 |
|
6 |
储能指示 |
20 |
手动加热按钮 |
|
7 |
高压带电三相指示 |
21 |
照明按钮 |
|
8 |
高压闭锁指示 |
22 |
手动排风按钮 |
|
9 |
高压解锁指示 |
23 |
分/合闸开关 |
|
10 |
加热1指示 |
24 |
远方/就地选择开关 |
|
11 |
加热2指示 |
25 |
红外人体感应器(选配) |
|
12 |
风扇1指示 |
26 |
储能方式选择开关 |
5.2背部端子示意图及说明

|
1 |
手车工作 |
状态接入点输入 |
20 |
A相高压传感器 |
输入 |
|
2 |
手车试验 |
21 |
B相高压传感器 |
||
|
3 |
断路器分 |
22 |
C相高压传感器 |
||
|
4 |
断路器合 |
23 |
高压三相地 |
||
|
5 |
未储能/储能 |
24 |
高压闭锁无源接点 |
输出 |
|
|
6 |
接地闸刀分/合 |
25 |
|||
|
7 |
状态输入公共端 |
26 |
缺相报警无源接点 |
输出 |
|
|
8 |
传感器、负载断线报警无源接点 |
输出 |
27 |
||
|
9 |
28 |
第1路传感器控制的风 扇无源接点 |
输出 |
||
|
10 |
柜内照明无源触点 |
输出 |
29 |
||
|
10# |
30 |
第2路传感器控制的风 扇无源接点 |
输出 |
||
|
11 |
RS485输出接口A |
输出 |
31 |
||
|
12 |
RS485输出接口B |
32 |
第1路传感器控制的 加热无源接点 |
输出 |
|
|
13 |
RS485输出接口地 |
33 |
|||
|
14 |
第1路模拟型温湿度传感器 |
输入 |
34 |
第2路传感器控制的 加热无源接点 |
输出 |
|
15 |
35 |
||||
|
16 |
36 |
辅助电源 AC/DC110∼220V |
输入 |
||
|
17 |
第2路模拟型温湿度传感器 |
37 |
|||
|
18 |
38 |
辅助电源大地 |
|||
|
19 |
40∼43自储/手储选择开关 |
输出 |
|||
以下是参数读取的地址表:
|
地址 |
数据内容 |
数据类型 |
命令字 |
数据长度 |
备注 |
|
1 |
仪表通讯地址 |
Unsingned int |
03H(04H) |
2 |
1~ 247 |
|
2 |
仪表通讯波特率 |
Unsingned int |
03H(04H) |
2 |
|
|
3 |
开关状态指示 |
Singed int |
03H(04H) |
2 |
5.3主要功能
●手车位置指示
1)手车处于工作位置(工作位置触点闭合)时,手车指示红1A、4A灯亮;
2)手车处于试验位置(试验位置触点闭合)时,行车指示练1B、4B灯亮;
3)手车处于试验位置和实验位置之间(工作、试验位置触点都未闭合且断路器接点全部未闭合)时,手车指示灯红、绿1A、4A、1B、4B灯都不亮;
●断路器状态指示
1)断路器合闸(断路器合触点闭合)时,断路器指示灯2A灯亮;
2)断路器分闸(断路器分触点闭合)时,断路器指示绿2B灯亮;
3)断路器不在柜内(断路器合、分触点都未闭合)时,断路器指示灯红、绿2A、2B灯不亮;
●接地开关位置指示
1)接地闸刀合闸(接地闸刀分/合触点闭合)时,接地闸刀指示红3A灯亮;
2)接地闸刀未合闸(接地闸刀分/合触点未闭合)时,接地闸刀指示绿3B灯亮
●弹簧储能(未储能/储能)触点闭合时,储能指示红灯6亮;
注意:以上接入量必须为无源接点。
●智能语音防误提示功能
1)当断路器合闸时,手车处于试验位置和工作位置之间(试验位置、工作位置多闭合)时,1A、4A、1B、4B、2B指示灯闪烁,2A指示灯常亮并有语音提示“请分断路器”;
2)当接地开关闭合时,手车处于试验位置和工作位置之间(试验位置、工作位置多闭合)时,1A、4A、1B、4B、3B指示灯闪烁,3A指示灯常亮并有语音提示“请分接地开关”;
3)当接地开关和断路器都闭合时,误推手车从试验位置切换到工作位置时,2B、3B指示灯同时闪烁,并伴有语言提示“请分断路器”、“请分接地开关”。
●高压带电闭锁功能
1)高压带电显示:当A、B、C三相带电(电压≥额定电压的15%),相应的A、B、C三相指示灯7启辉发光;
2)高压带电闭锁:当A、B、C三相任意一相带电(电压≥额定电压的65%)时,高压闭锁指示红灯8亮,高压解锁指示绿灯9熄灭,相应高压闭锁接点输出弹开;三相全不带电时,高压解锁指示绿灯9亮,高压闭锁指示红灯8熄灭,相应高压闭锁接点输出闭合;
3)高压带电显示回路自检:在装置接好辅助电源后,利用自检按钮可给测A、B、C三相带电显示的完好性(高压带电该接钮无效);
4)高压缺相报警:当A、B、C三相中任意一相或两相带电(电压≥额定电压的65%)时,缺相报警接点输出闭合;当三相全部不带电或三相全部带电时缺相报警接点输出打开。
注意:A、B、C三相配用的传感器,其输出短路电流必须达到220uA±10%。
●温湿度控制功能
1)启动加热:当环境温度≤5℃时,或当环境湿度≥85%RH时,或点按“手动加热”控制控制按钮时,启动加热,“加热1、2”指示灯亮。
2)退出加热:在自动模式下,如为升温加热则环境温度上升至≥13℃;如为除湿启动加热则环境湿度下降至≤75%RH时,在自动模式下;如为温度、湿度同时启动加热则环境温度上升至≥13℃,并且环境湿度下降至≤75%RH时;在手动模式下,再次点按“手动加热”控制按钮时,退出加热,“加热1、2”指示灯熄灭。
3)启动排风:当环境温度≥40℃时,启动风扇,“风扇1、2”指示灯亮。
4)停止排风:当环境温度下降至≤25℃,停止排风“风扇1、2”指示灯熄灭。
5)手动加热:需要手动加热时,点按“手动加热”按钮,加热器1、2都开始加热,“手动指示”灯亮;再次点按“手动加热”按钮,退出1、2路手动加热并转到自动控制状态,“手动指示”灯熄灭。
6)传感器断线报警:当2路的温湿度传感器有任一路断线时,“断线报警”指示红灯亮,断线报警触点闭合。
7)负载断线:当2路启动的加热或风扇回路中无电流流过时,“断线报警”指示红灯亮,断线报警触点闭合。
注意:加热1、2如进入手动动作状态将不会自动返回,请勿长时间使用,否则可能引发严重安全事故。
●操作功能
1)自储/手储转换
2)分/合闸操作
3)远方/就地转换
4)柜内照明转换
●通信功能
支持远方查询开关量状态
1)通信方式:RS-485;
2)通信规约:ModBus-RTU;
3)通信格式:异步1200/2400/4800/9600/19200 bps出厂预设
5.4安装屏开孔(mm)

5.5外形尺寸图(mm)

六、使用注意事项
6.1必须严格按照标明的电压等级接入电源,严格按照背面端子标示接线。
6.2安装时应将接线端子拧紧,并且将设备牢固在坚固耐火、不易震动的位置,设备仰视时效果佳,故应垂直安装。
6.3耐压试验时,必须把带电显示部分端子(20、21、22、23)接线解开或短接。
6.4所有开关量接点必须是无源接入。
6.5按实物的接线标示接线,如有变动恕不另行通知。
6.6使用不当或非本产品引起的故障,本公司不承担责任。
七、订货须知
用户根据需求,须在订货单中注明以下事项:
1、产品名称、型号及数量;
2、提供一次方案图;
3、温湿度传感器使用长度。
enrdq@163.com enrdq@126.com